申請號:
CN202121502185.8
申請日:
2021.07.04
國家/省市:
41(河南)
授權公告號:
CN215297025U
授權公告日:
2021.12.24
主分類號:
G01N5/04
分類號:
G01N5/04
申請人:
申請人地址:
452472 河南(nan)省開封(feng)市(shi)登封(feng)市(shi)盧店鎮(zhen)張家門村
發明人:
張淵博
當前權利人:
登封市匯聯磨(mo)料磨(mo)具有限公司
范疇分類:
31E
當前狀態:
有效
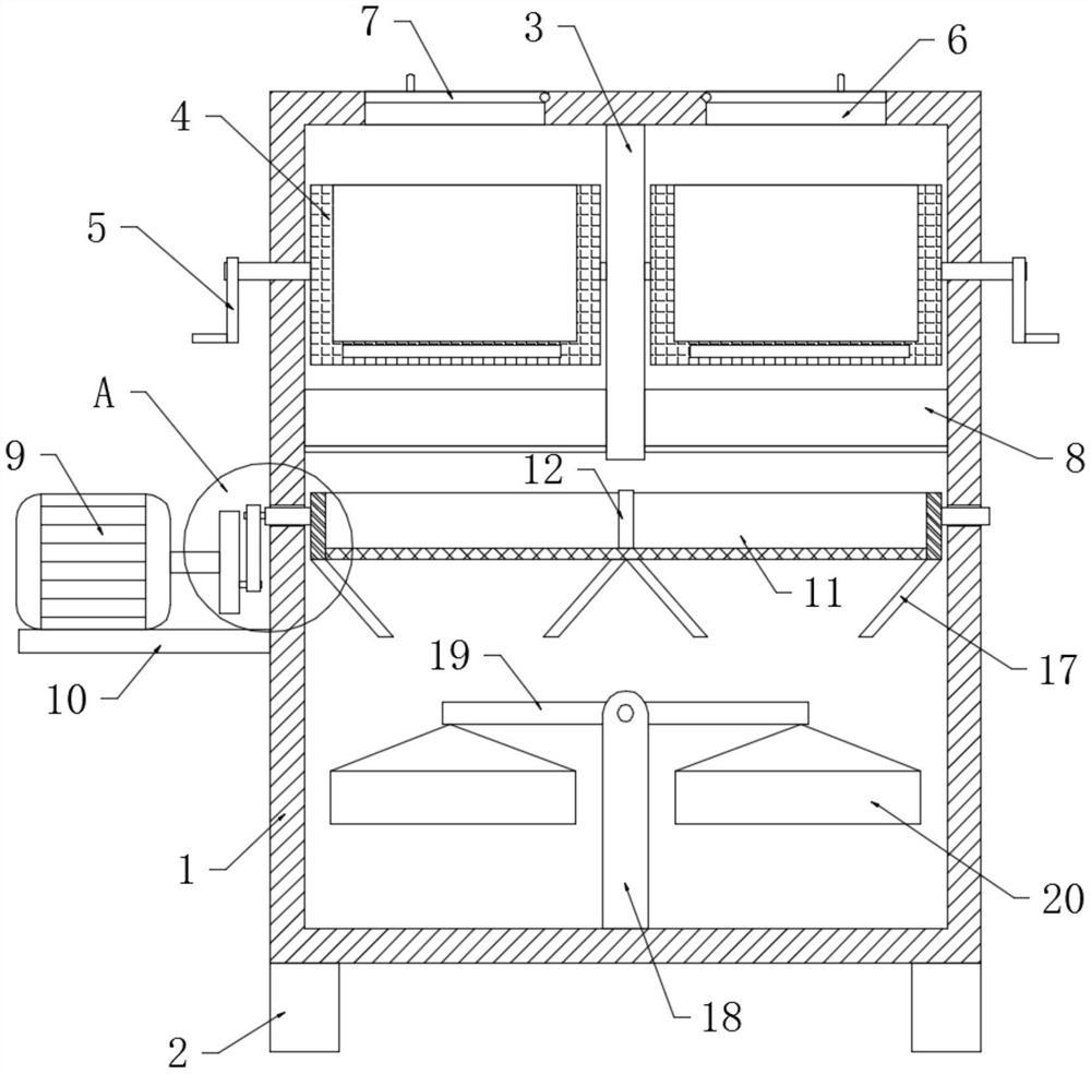
摘要: 本實用新型公開了一種棕剛玉抗粉(fen)化性能檢(jian)(jian)(jian)(jian)(jian)測(ce)(ce)裝(zhuang)置(zhi),包括(kuo)檢(jian)(jian)(jian)(jian)(jian)測(ce)(ce)箱(xiang)(xiang)(xiang)(xiang)(xiang),所(suo)述(shu)檢(jian)(jian)(jian)(jian)(jian)測(ce)(ce)箱(xiang)(xiang)(xiang)(xiang)(xiang)的(de)(de)(de)底(di)部外(wai)壁(bi)上固定連接有(you)多(duo)個(ge)支(zhi)撐腳,所(suo)述(shu)檢(jian)(jian)(jian)(jian)(jian)測(ce)(ce)箱(xiang)(xiang)(xiang)(xiang)(xiang)的(de)(de)(de)頂部內(nei)(nei)壁(bi)中(zhong)(zhong)間位置(zhi)固定連接有(you)隔熱(re)板(ban),所(suo)述(shu)檢(jian)(jian)(jian)(jian)(jian)測(ce)(ce)箱(xiang)(xiang)(xiang)(xiang)(xiang)內(nei)(nei)位于(yu)(yu)隔熱(re)板(ban)的(de)(de)(de)兩(liang)側(ce)通過(guo)銷軸轉動連接有(you)兩(liang)個(ge)加熱(re)皿(min),所(suo)述(shu)檢(jian)(jian)(jian)(jian)(jian)測(ce)(ce)箱(xiang)(xiang)(xiang)(xiang)(xiang)位于(yu)(yu)兩(liang)個(ge)加熱(re)皿(min)的(de)(de)(de)正上方箱(xiang)(xiang)(xiang)(xiang)(xiang)壁(bi)各開設(she)有(you)一(yi)個(ge)投(tou)料口,所(suo)述(shu)檢(jian)(jian)(jian)(jian)(jian)測(ce)(ce)箱(xiang)(xiang)(xiang)(xiang)(xiang)位于(yu)(yu)兩(liang)個(ge)投(tou)料口處設(she)有(you)蓋(gai)板(ban),所(suo)述(shu)檢(jian)(jian)(jian)(jian)(jian)測(ce)(ce)箱(xiang)(xiang)(xiang)(xiang)(xiang)內(nei)(nei)設(she)有(you)粉(fen)化分篩(shai)(shai)裝(zhuang)置(zhi)和平衡(heng)對比機構。本實用(yong)新型中(zhong)(zhong)的(de)(de)(de)粉(fen)化分篩(shai)(shai)裝(zhuang)置(zhi)、平衡(heng)對比機構均(jun)設(she)置(zhi)在檢(jian)(jian)(jian)(jian)(jian)測(ce)(ce)箱(xiang)(xiang)(xiang)(xiang)(xiang)內(nei)(nei),將對檢(jian)(jian)(jian)(jian)(jian)測(ce)(ce)物料的(de)(de)(de)加熱(re)、分篩(shai)(shai)、稱重工序疊加在一(yi)臺(tai)設(she)備內(nei)(nei),采用(yong)機械式過(guo)篩(shai)(shai),提高(gao)了(le)檢(jian)(jian)(jian)(jian)(jian)測(ce)(ce)的(de)(de)(de)效(xiao)率(lv),同時整(zheng)個(ge)檢(jian)(jian)(jian)(jian)(jian)測(ce)(ce)過(guo)程均(jun)在檢(jian)(jian)(jian)(jian)(jian)測(ce)(ce)箱(xiang)(xiang)(xiang)(xiang)(xiang)內(nei)(nei)進行,極大(da)減少(shao)了(le)外(wai)界(jie)環境造(zao)成的(de)(de)(de)干擾,增加了(le)檢(jian)(jian)(jian)(jian)(jian)測(ce)(ce)結構的(de)(de)(de)準確性。
主權利要求: 1.一種棕剛玉抗粉化性能檢(jian)測(ce)(ce)(ce)裝置(zhi)(zhi),包括檢(jian)測(ce)(ce)(ce)箱(xiang)(1),其特征(zheng)在(zai)于(yu)(yu),所(suo)(suo)述檢(jian)測(ce)(ce)(ce)箱(xiang)(1)的(de)底部(bu)外壁上固定連接(jie)有(you)(you)多個支撐腳(2),所(suo)(suo)述檢(jian)測(ce)(ce)(ce)箱(xiang)(1)的(de)頂部(bu)內(nei)壁中間位置(zhi)(zhi)固定連接(jie)有(you)(you)隔(ge)熱(re)板(ban)(3),所(suo)(suo)述檢(jian)測(ce)(ce)(ce)箱(xiang)(1)內(nei)位于(yu)(yu)隔(ge)熱(re)板(ban)(3)的(de)兩(liang)側通過銷(xiao)軸轉動連接(jie)有(you)(you)兩(liang)個加熱(re)皿(min)(4),所(suo)(suo)述檢(jian)測(ce)(ce)(ce)箱(xiang)(1)位于(yu)(yu)兩(liang)個加熱(re)皿(min)(4)的(de)正上方箱(xiang)壁各開設有(you)(you)一個投料口(6),所(suo)(suo)述檢(jian)測(ce)(ce)(ce)箱(xiang)(1)位于(yu)(yu)兩(liang)個投料口(6)處設有(you)(you)蓋(gai)板(ban)(7),所(suo)(suo)述檢(jian)測(ce)(ce)(ce)箱(xiang)(1)內(nei)設有(you)(you)粉化分篩裝置(zhi)(zhi)和平(ping)衡(heng)對比(bi)機(ji)構(gou)。



手機資訊
官方微信







豫公網安備41019702003604號(hao)